Коротко о главном
Если хочется обновить интерьер, но о ремонте не может быть и речи, на помощь приходят несложные и малозатратные способы. Маленькие лайфхаки помогут освежить дизайн и преобразить комнату под настроение. Их выбор разнообразен, и вы всегда сможете подобрать подходящий вариант соразмерно стилю помещения и своему вкусу.
Среди популярных методов пальма первенства принадлежит поделкам из природных материалов, особенно из древесины. Нередко самым простым и выгодным оказывается использование старых вещей и подручных средств. В особом выигрыше оказываются те, кто обладает каким-либо навыком: умеет вязать, шить, работать по дереву, освоил технику аппликации или макраме. Большинство способов декора имеют ограничение в применении, так как подходят не для всех интерьерных стилей.
Защита лампы освещения
Для комфортной работы должен быть достаточный уровень освещения. Но, учитывая назначение гаража, есть высокий риск повреждения лампы. Поэтому в полезные гаражные самоделки стоит обязательно включить специальные защитные плафоны. Сделать их можно самостоятельно из обычной пластиковой бутылки.
Конструкция делается достаточно просто:
- Вырежьте в бутылке окно под лампу. Обычно достаточно размера примерно в четверть бутылки.
- Срежьте горлышко таким образом, чтобы в него свободно входила лампа. При этом патрон должен находиться снаружи, обеспечивая неподвижность лампы в бутылке.
- Прикрепите бутылку с лампой к поверхности. Можно применить и штатные крепления от патрона, исходя из его типа.
Основание
Для начала, нужно подготовить площадку, нанести разметку и снять слой земли. После, нужно установить фундамент и углубить его – достаточно будет 30-40 сантиметров. Залитый бетон будет укрепляться почти месяц, поэтому его можно заменить уже готовыми блоками.
Когда все будет готово, нужно настелить гидроизоляционный материал, желательно битумный. Таким образом, уменьшатся шансы подтопления пола в гараже.
Затем можно приступать к установке деревянного каркаса. Сначала укладывается обвязка по фундаменту, после ставятся стойки по углам. Их необходимо укрепить при помощи подкосов. Верхнюю часть стоек также нужно связать обвязкой. Вдоль каждой стены также ставятся стойки, примерный шаг – 60 сантиметров.
Перед обшивкой стен, заполните пустое пространство утеплителем. Пароизоляционная пленка также окажется полезной в этой работе.
Гаражный верстак – трудно обойтись без него!
Если вы планируете заниматься в гараже самостоятельным обслуживанием своего транспортного средства, а также производить разнообразные ремонтные работы и делать собственные поделки, обойтись без верстака будет трудно. Его обычно изготавливают из деревянных досок, которые монтируются на надежное основание (металлическая профилированная труба или деревянный толстый брус).
Допускается делать рабочий стол и из металлических заготовок. Их несложно нарезать по требуемым размерам и собрать в одно прочное сооружение посредством стальных уголков и метизов (универсальные саморезы, винтовые соединения, болты и так далее) либо при помощи сварочного аппарата.
Изготовление деревянного либо металлического верстака всегда начинают с составления подробного чертежа конструкции. Вы должны грамотно оценить рабочее пространство своего гаража и максимально гармонично вписать в него рабочий стол. Желательно предусмотреть наличие полок и ящиков (выдвижных) на верстаке. Они позволят вам хранить всевозможные инструменты под рукой. На столешницу рекомендуется установить небольшие тиски.

Изготовление металлического верстака
Тогда вы получите отличную рабочую зону, где можно будет заниматься любым домашним творчеством, производя оригинальные и полезные самоделки для дома.
Далее приводится схема изготовления простого верстака, который будет служить вам много лет:
- Собираете столешницу из досок с подходящими для вас геометрическими параметрами (например, 200 на 10 на 5 см), соединяя деревянные изделия между собой металлическими стяжками и хорошим клеем. Для стандартного верстака, подходящего для любого гаража, достаточно взять 20 таких досок.
- На столешнице сделайте специальные пазы (на 5 и 16 по счету досках) под упоры. Параметры пазов – 2,5 на 2,5 см.
- После высыхания клея столешницу необходимо обстругать так, чтобы получилась безупречно ровная рабочая поверхность.
- Из брусков 80 на 10 на 10 см изготавливаете ножки для верстака. В передних опорах следует предусмотреть пазы. В них вы вставите кронштейны, которые затем соедините с балкой (продольной).
- Собираете основание подстолья из двух рам, изготовленных из досок 10 на 5 см, и фиксируете его к опоре. В ножки верстака рамы врезают примерно на 2,5 см, а затем крепят их болтами.
- К полученной конструкции присоединяете опорные стенки (заднюю и боковую). Их можно делать из сантиметровой фанеры либо листов ДСП.
Теперь нужно соединить верхнюю раму со столешницей. Эта операция без проблем выполняется при помощи болтов. Не забудьте нанести олифу на сделанный деревянный верстак и покрыть его лаком. На таком столе любые поделки вы будете изготавливать с особым удовольствием!
Размещение
Вариантов размещения в гараже столько, сколько хозяев у этих гаражей. Ниже приводятся примеры удачных решений. Полезную площадь займёт рабочий стол, без него обойтись нельзя. Его удобно разместить у дальней торцевой стенки. Для него в глубину потребуется примерно 0,6 м, по ширине ─ минимально 1,0 м. Чтобы сесть человеку перед столом надо ещё 0,6 м. По обе стороны от рабочего стола можно размещать полки, стеллажи и т. п. а можно и увеличить ширину рабочей части стола во всю ширину торцевой стены. Там ведь надо размещать тиски, наждак, сверлильный станок.

ФОТО: YouTube.comРабочий стол у торцевой стеныФОТО: YouTube.comВариант рабочего стола
Если гараж оказался короче, а машина ─ длиннее, то стол можно сделать откидным. К стене гаража на петлях подвешивается лист ДСП толщиной 25-35 мм и пристраиваются убирающиеся опоры.
На боковых стенах гаража размещаются разнотипные полки и держатели. Вот здесь огромный простор для проявления фантазии и конструкторской смекалки.
ФОТО: chastnyjdom.ruПолки и крючки на стенах
При загрузке боковых поверхностей гаража надо придерживаться принципа функционального зонирования. Суть его в том, что однородные по назначению вещи располагаются группой в одном месте.
В районе стола, прямо на торцевой стене, можно разместить оперативный инструмент:
- гаечные ключи;
- отвёртки;
- плоскогубцы;
- кусачки;
- свёрла.
Это всё требуется часто, должно быть на виду и под рукой. Один из вариантов размещения инструментов выполнен в виде «книжки», страницами которой являются перфорированные доски. В любое место такой доски можно воткнуть крючок и подвесить инструмент.

ФОТО: YouTube.com«Книжка» из перфорированных досок
Колёса, которые хранятся в гараже, можно подвешивать на крючках на боковой стенке, а можно укладывать на полку, которая находится чуть выше человеческого роста. Такая полка не будет мешать проходу между машиной и стеной. Если колёса тяжело поднимать, то следует подумать о применении простой лебёдки. Можно поднимать колёса поштучно, а можно опускать и поднимать сразу всю загруженную полку.

ФОТО: 2drive.ruХранение колёс на высокой полке
Всевозможные химические материалы и краски следует хранить подальше от машины. И если вдруг что-то перевернётся и упадёт, то не на машину. Всякую металлическую мелочь типа свёрл, бит, мелких ножей можно хранить на магнитной ленте.

ФОТО: YouTube.comБиты и свёрла на магнитной планке
В гараже можно хранить велосипеды.

ФОТО: YouTube.comРазмещение велосипедов
Статья по теме:
Начало строительства: выбор идеи и составление проекта
Когда мы строим гараж недорого своими руками, необходимо тщательно продумать идею и составить проект будущего сооружения.

Для этого необходимо провести определенную подготовку, которая включает учет следующей информации, она поможет в будущем реализовать все этапы, без задержек по времени:
- тип сооружения, гараж может быть отдельно стоящий или строиться в качестве пристройки к дому, что значительно сэкономит семейный бюджет, за счет снижения расхода материалов;
- целевое назначение сооружения и условия его последующей эксплуатации, количество размещаемых автотранспортных средств, необходимость обустройства подвала иди бытовых помещений;
- габаритные размеры хозяйственной постройки с учетом площади и обустройства разных поверхностей, таких как стены и крыша, используемые кровельные материалы;
- необходимый тип фундамента, он выбирается исходя из эксплуатационных требований к будущей гаражной постройке и ориентируясь на тип грунтов, преобладающих на участке;
- выбор основных и облицовочных строительных материалов, составление схемы гаража, для предварительного проектирования постройки и закупки стройматериалов по расчетам.

Читайте здесь — Установка столешницы своими руками: выбор, монтаж и крепление столешницы. 155 фото лучших идей и советы по их применению «>
Для быстрого строительства можно использовать готовые конструкции, нуждающиеся в сборке и обустройстве фундамента.

Освежитель в салоне: арома свечи
Если хочется освежить воздух в автомобиле, можно поставить в подстаканник ароматизированную свечу. Лучше делать это в теплое время, чтобы свеча нагрелась.

Под воздействием тепла выделяется приятный аромат и распространяется по салону. При этом не нужно зажигать свечу. По мнению экспертов, это лучше, чем использовать разную химию.
Хотите держать приборную панель всегда чистой и отполированной? Тогда возьмите оливковое масло и кофе-фильтры и протрите торпеду. Это поможет избавиться пыли и придаст блеска интерьеру авто.
Чтобы вождение не стало для вас настоящим испытанием и головной болью, пользуйтесь лайфхаками. Некоторые фишки действительно облегчают жизнь автомобилиста.
Лайфхаки для гаража. Как использовать б/у запчасти?
В статье о лайфхаках для гаража мы расскажем вам о том, как можно обустроить ваш гараж, используя при этом старые б/у запчасти, которые наверняка есть в любом гараже.

Как использовать б/у запчасти для обустройства гаража?
Отработавшие задние колодки тормозные отлично выполняют функцию антиподката для автомобиля в гараже.

Все знают как выглядят клапана газораспределения.

После того, как они приходят в негодность из них можно изготовить отличное зубило, по которому можно смело быть.

Тросик от старого стеклоподъемника можно использовать повторно.

С его помощью можно легко вырезать вклеенное стекло, используя его в качестве струны для режущего приспособления.

Старое сцепление можно разобрать на кучу мелких деталей, которые точно пригодятся.

А вот корзина сцепления отлично подходит в качестве подставки.

Из старых рессор, если вы помните такие, можно сделать кресло качалку.

Из старых пружин, таких как на фото, можно сделать диван качалку.

Безнадежно сломанный стартер тоже не нужно выбрасывать.

Извлекаем из него втягивающее.

Скрываем его.

Извлекаем из него отличную медную катушку.

Старый шатун подходящего размера отлично подходит для сдавливания и последующей запресовки салейнтблоков.

После ремонта коробки передач не редко остаются дефектованные запчасти.

Например, первичный вал можно использовать для отцентровки диска сцепления.

Лайфхаки для гаража: интересные идеи

- Особенности
- Что можно сделать?
- Дополнительные приспособления для хранения
- Как лучше работать?
- Дополнительные советы
- Улучшаем гараж по всем правилам: стратегия и действия
- Гараж как склад
Гараж — очень важное место в жизни каждого автомобилиста, владельца мотоцикла или даже простого мопеда. Но многие люди по не вполне понятной причине полагают, что можно ограничиться просто строительством или покупкой площади для хранения транспорта
На самом же деле это не так: практически каждый гараж может быть улучшен своими руками. И если вас посещают мысли о его продаже из-за неудобства, простейшие рекомендации помогут найти подходящее решение. Даже при отсутствии видимых проблем иногда необходим новый подход к оформлению гаражного помещения.

Шкатулки ручной работы
Популярная бизнес-идея как у мужчин, так и у женщин — создание шкатулок ручной работы. Шкатулка — это товар мелкогабаритный, поэтому изготовить его можно в домашних условиях, работая, например, в формате бизнеса в гараже. Шкатулки мастерят из дерева, фанеры, джута, картона, камня — и везде есть свои тонкости и премудрости. Для начала вы можете купить готовые заготовки с “Алиэкспресс” или “Ярмарки мастеров” и попрактиковаться в декорировании, а затем уже можно освоить всю технологию производства полностью. Как и в любой сфере, желательно создать уникальное торговое предложение. Например, бизнес на необычных деревянных шкатулках подойдет тем, кто живет вблизи произрастания необычных пород дерева.
Типы и их функциональные особенности
Для удобства и комфорта в гаражном помещении устанавливают различную мебель. Шкаф представляет собой металлический или деревянный короб с многочисленными полками, закрытыми дверцами.
Шкафы необходимы для поддержания чистоты и порядка. На полках аккуратно размещаются все необходимые предметы и инструменты. В любой момент их можно быстро найти на своем месте.
Стационарные
Стационарные виды шкафов состоят из несущего каркаса, на который закрепляют полки в горизонтальном положении или вертикальные стойки. Правильно установленные полки при монтаже могут выдерживать тяжелый вес. На них можно размещать ящики для инструментов небольшого и среднего размера, предметы по уходу за автомобилем.
Самую нижнюю полку делают на некотором расстоянии от пола. Нижнее пространство обычно оставляют достаточно широким, чтобы разместить габаритные элементы гаража, например, колеса.

Передвижные
Конструкции данной разновидности оснащены колесиками. Очень удобно наличие подобной мебели. В любое время шкаф можно передвинуть на другое место, не разгружая содержимое. Но колесики не выдерживают слишком тяжелые нагрузки, поэтому предметы с большим весом на полках хранить нельзя.

Навесные
Если внутреннее гаражное пространство небольшое, то идеальным вариантом становится изготовление навесных ящиков. В них делают несколько полок. На самых верхних полках хранят предметы, которые используются редко. На нижних полках следует складывать вещи, которыми пользуются часто.
Навесные шкафы делают небольшого размера и вешают на одну из свободных стен, ближе к потолку. На полках хранить можно только среднего веса предметы и вещи. Зато конструкция значительно экономит пространство.
Создание полезных приспособлений для гаража своими руками
Чтобы осуществлять ремонтные и сервисные работы, потребуется соорудить смотровую яму в гараже своими руками, размеры которой будут соответствовать габаритам авто, а также верстак для удобной работы, плюс снабдить помещение станками.
Основной набор инструментов и материалов для создания самодельного верстака для гаража включает:
- доски и деревянные бруски;
- крепежные элементы и стяжки;
- рубанок и другие инструменты для обработки дерева;
- лакирующий и столярный клеевые составы;
- наждачную бумагу и олифу.

Пример размещения в гараже полезных приспособлений: 1 — верстак с ручными станками, 2 — стеллажи и шкафы, 3 — стол для проведения различных ремонтных работ, 4 — полка для хранения шин, 5 — смотровая яма
Технология изготовления верстака в гараже своими руками: фото, чертежи
Верстак состоит из столешницы и подстолья, а также нескольких устройств зажимного типа. Высоту верстака в гараже следует подбирать с учетом собственного роста. Можно взять в качестве ориентира высоту кухонного стола в доме, за которым удобно работать. Обязательно составьте для создания верстака для гаража своими руками чертежи.
Обустройство гаража: как сделать верстак в помещении:
| Этап работы | Детали, размер в см | Тип крепления |
| Сборка столешницы | 20 досок (5х10х200) с пазами 2,5х2,5 в 5-ом и 16-ом элементе (шаг 25) | Клеевой состав металлические стяжки |
| Сушка | — | — |
| Изготовление ножек (4 шт.) | Брусок (10х10х80) с пазами под кронштейны на передних опорах | Кронштейны |
| Сборка основания подстолья | Рамы (2 шт.) из досок (5х10) | Соединение «в шип» на глубину 2,5 см и болты |
| Фиксация боковых и задних опорных стенок | Плиты ДСП (толщина 10 мм) | Шурупы |
| Фиксация столешницы к верхней раме | — | Болты |
Заключительная обработка предполагает пропитку готового изделия олифой и вскрытие лаком.
Рекомендации по созданию смотровой ямы в гараже своими руками
Не существует определенных размеров смотровой ямы в гараже. В качестве основы берутся габариты автомобиля.
Как сделать смотровую яму в гараж с оптимальными параметрами:
- Ширина подбирается с тем расчетом, чтобы внутри было достаточно места для работы. Размер ограничен расстоянием, на которое посажены колеса авто. Каждое колесо нуждается в небольшой площади для выполнения маневров. Средняя ширина ямы составляет 0,8 м.
- Длина ямы ограничивается длиной машины. К этому показателю следует добавить 1 м.
- Для расчета глубины используется рост владельца гаража. К нему прибавляется еще 10-15 см.
Как правильно сделать смотровую яму в гараж с использованием разных материалов:
| Материал | Толщина стенок, см |
| Керамический кирпич | 12-25 |
| Бетон | 15 |
| Строительные блоки | 20 |
Котлован вырывается с учетом оптимальной ширины ямы, материала, выбранного для стенок, а также толщины гидроизоляционного слоя. Этапы создания ямы:
- разметка;
- строительство котлована;
- обустройство котлована;
- строительство стен;
- прокладка освещения.
Для гидроизоляции стен применяется специализированная гидрофобная пропитка.

Схема обустройства смотровой ямы: 1 — стенки из пеноблоков, 2 — гидроизоляция, 3 — бутовая кладка. 4 — уголок размером 50х50х4 мм
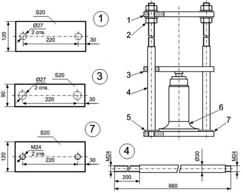
Изготовление пресса для гаража своими руками
Для создания пресса следует изготовить из 4 отрезков металлических труб каркас размером 178х80 см. Эти элементы соединяются методом сварки. В работе рекомендуется руководствоваться чертежами, заранее подобранными или составленными. После этого нужно установить:
- фиксатор;
- съемный упор;
- бутылочный домкрат (гидравлический).
Можно использовать для рассмотрения подробной технологии создания полезных приспособлений для гаража своими руками видео-материалы. Такие наглядные рекомендации помогают сориентироваться в размерах, освоить пошаговые инструкции и представить, какой внешний вид должна иметь готовая конструкция.

Схема изготовления гидравлического пресса: 1 — верхняя силовая платформа, 2 — гайки, 3 — нижняя платформа, 4 — шпильки диаметром 30 мм, 5 — нижняя резьба шпилек, 6 — гидравлический домкрат бутылочного типа; 7 — основание толщиной 20 мм
Обустройство гаража можно сделать собственными руками. На этом список полезных приспособлений не заканчивается. Его всегда можно дополнить любыми интересными идеями. Главное, чтобы гараж полностью соответствовал личным требованиям в отношении комфорта и удобства.
Прочие интересные самоделки
Печь буржуйка из старых дисков
Навесные замки гаражных ворот подвергаются действию мороза, снега, обледеневают, поэтому ржавеют, выходят из строя. Защиту в виде импровизированного навеса выкраивают из автомобильной камеры. Кусок фиксируют над замком болтом с гайкой.
Печь-буржуйка из автомобильных дисков
Понадобится листовой металл, дверки для топочной камеры, диски, квадратная труба, коллектор для отведения дыма, винты, жаростойкая краска.
Из дисков болгаркой или плазменным резаком удаляют сердцевины, затем монтируют насадку в форме лепестка. Ровняют края дисков, чтобы при соединении не возникали щели, заваривают в них отверстия и сваривают между собой.
Переднюю и заднюю стенки отрезают, заваривают толстым листовым железом. Надежные ножки для печки делают из профильной трубы. Топочную дверь устанавливают в отверстие на винтах. Сверху конструкции обустраивают варочную поверхность из толстого металла.
В корпусе делают отверстие под дымник, приваривают его, выводят за пределы гаража. Колосники варят сами или берут готовые. Поддувало выполняют в нижней области печки, ставят заслонку.
Компрессор из старого мотора
Компрессор из старого двигателя
Потребуется двигатель от скутера, мопеда, от мощности будет зависеть производительность нового агрегата. В итоге получают компрессор с неплохим ресурсом для работы краскопульта, накачки колес и других подобных работ.
Материалы для работы:
- двигатель четырехтактный;
- агрегат от стиральной машины;
- ременная трансмиссия;
- фитинги, штуцеры, трубки и другие детали;
- для ресивера газовый баллон;
- квадратная труба для станины;
- реле давления;
- редуктор, манометр.
Мотор разбирают и используют коленвал с шатуном, поршень, цилиндр с ГБЦ. С клапана снимают жесткие пружины, ставят мягкие, на выходе предусматривают сапуны высшей степени очистки. Картеры привода ГРМ и коленвала соединяют трубкой. Из мотора сливают масло, небольшой объем оставляют.
Свечу меняют переходником, на него устанавливают клапан, чтобы не всасывались потоки воздуха. Проверяют прокручиванием вала мотора. Компрессор должен качать воздух. Под агрегат делают подставку из стали.
Для изготовления ресивера из баллона снимают кран, избавляются от содержимого, затем промывают, и делают резьбу под штуцеры. Вместо нарезки витков можно приварить гайку. Все узлы фиксируют на раме из квадратной трубы.
Ставят электродвигатель, компрессор, валы стыкуют посредством шкива, передачу регулируют по месту. Конструкцию окрашивают.
Самодельное сверло и сфера его применения
Для изготовления такого сверла вам потребуется металлическая трубка длиной 100 мм и 10 мм в диаметре.
ФОТО: YouTube.comОдин конец трубки нужно обточить на станке, чтобы получился острый режущий край
ФОТО: YouTube.comТакое сверло пригодится вам, если нужно сделать перфорацию на тонком материале. Резина, кожа, тонкая фанера – всё это легко поддаётся обработке таким инструментом. Только помните, что при работе с деревом сверло нужно охлаждать в ёмкости с водой
ФОТО: YouTube.comМежду прочим, высверленные кусочки материала могут пригодиться вам в качестве демпферов для мебели. Их можно наклеить в местах, где стучат дверцы или ящики
Сверло может пригодиться вам и в том случае, если в материале сломался саморез. Просто высверливаете вокруг него материал этим приспособлением и извлекаете его вместе с обломком самореза.
Лайфхаки для детской комнаты
И для детской комнаты есть немало крайне полезных лайфхаков.

Детские бутылочки
Когда ребенок вырастает с младенческого возраста и постепенно начинает развиваться, пробуя себя в рисовании, изготовлении поделок и в другой деятельности, необходимо достаточно мест.

А так же нужно позаботиться и о приобретении емкостей для хранения необходимых принадлежностей.

Детские бутылочки очень удобны в использовании по назначению, но такими же удобными они могут быть в качестве баночек для хранения карандашей, фломастеров и мелков.

Стеллажи с ячейками
Если заменить большинство шкафчиков стеллажами с пустыми полками для помещения в них разных емкостей и корзинок, это поможет ребенку учиться с малых лет стать более организованным.

Каждая ячейка будет служить емкостью для разных видов вещей.

Гараж как склад
Практически любой дом или квартира полны вещей, которые вполне можно хранить где-то еще. В гараже найдется место для:
- домашней коллекции фотографий;
- детских игрушек;
- сезонной одежды, обуви, головных уборов;
- резерва чистящих и моющих средств;
- велосипеда, самоката, иного спортивного инвентаря;
- принадлежностей для автомобиля и его ремонта.

Когда поставлена цель «хранить все что угодно», идеально подойдет система стеллажей. Пластиковые варианты долго служат, сравнительно недороги и даже в неотапливаемых помещениях сохраняют свои ценные качества. Однако стоит иметь в виду, что пластмассовая полка и дно не выдержат нагрузки свыше 50 кг, поэтому придется искать другое место для резины, аккумуляторов и тяжеловесных инструментов.

Металлические решения, если только они сделаны из хорошего металла, перенесут любые нагрузки, возникающие в бытовых условиях. Но учтите, что влага и холод почти неизбежно спровоцируют коррозию, и это существенно ограничивает применимость таких изделий.

Стеллажи из ПВХ – практически идеальный вариант. Они недороги и крепки, но их следует оберегать их от заражения плесенью. Если она появится, шансов вывести грибок очень мало. Среди покупных стеллажей нужно отдать предпочтение подвижным и легко разбирающимся модификациям.

Когда меняется автомобиль, дополнительно в гараж ставится велосипед или делается кардинальная перестановка, они оказываются удобнее других. Перемещать такие конструкции можно и без посторонней помощи.
Совсем небольшие легкие стеллажи закрепляйте к стенам крепко, чтобы не только сама система хранения не падала, но и отдельные вещи не обрушивались.

Накапливать резину и автомобильные диски нужно на самых высоких полках, сделанных строго под размер предмета. От бортиков лучше отказаться, защита при помощи проволочной сетки куда эффективнее. А при наличии свободных средств ценным приобретением оказываются колесные кронштейны, которые выглядят эстетичнее простой полки и могут быть легко приспособлены для хранения резины любого формата.
Независимо от этих нюансов, автомобиль и покрышки должны быть разделены как минимум 1 м пространства, только тогда соблюдаются требования безопасности.
Улучшаем гараж по всем правилам: стратегия и действия
Чтобы воплотить задуманное в жизнь, надо сразу позаботиться об удобстве в гараже, а это значит, что потребуется:
- определиться с целями его использования;
- четко отвести ту или иную зону для определенных задач (лучше даже распланировать это на полноценном бумажном чертеже);
- изучить все вещи, которые у вас есть, разобраться, каким образом их надо сгруппировать и в какие системы хранения поместить.
Владельцам автомашин стоит в первую очередь рассмотреть вариант использования гаража как мастерской. Потребуется сравнительно немного места, чтобы оборудовать участок для работы.
Купите или сделайте сами угловой стол, занимающий пустующий угол. Сверху над столом из различных обрезков дерева и отходов металла соорудите полки для часто используемых вещей. Сразу избавьтесь от привычки раскладывать предметы по этим полкам произвольным образом, иначе результат окажется хуже прежнего.
Системы хранения продумывайте сами, потому что никто лучше вас не определит, как и что нужно сделать в конкретном гараже. Рекомендуется не просто раскладывать инструменты и запчасти по коробкам и ящикам, а подписать их маркером (это надежнее, чем непрерывно отклеивающиеся бумажные стикеры). Кроме полок над рабочим столом желательно закрепить доску (пробковую либо магнитную), которая послужит для написания памяток, крепления визиток и телефонных номеров.





































