Правила настоящего мужского дизайна гаража
Автомобиль – не только средство для передвижения, но и надежный, верный друг. Необходимо следить за его состоянием и создать оптимальные условия для пребывания. Стоянка или место под подъездом не самый лучший вариант, который часто практикуется современными водителями. Здесь масса факторов, которые негативно сказываются на качестве его работы и сроке службы.
Гараж – отличное место для защиты автомобиля от непогоды. Это многофункциональное помещение. Можно использовать, как по основному назначению, так и для других целей: в качестве кладовки, мастерской. Многие мужчины делают гараж местом для посиделок. Атмосфера помещения благоприятна для встречи с друзьями, бесед и приятного времяпровождения.
Обустройство гаража – задача не из легких, требующая ответственного подхода. Есть масса тонкостей и хитростей, без знаний которых сложно будет получить комфортное и удобное помещение. Правильно выбранный интерьер гаража является залогом успеха. Он поможет придать помещению красивый вид, упорядочить предметы и инструменты.
Для экономии места можно поставить шкафы для инструментов
В гараже все должно лежать на своих местах, для этого нужно установить мебель
Сочетание красного, белого, черного в интерьере гаража выглядит очень красиво
Делаем автомойку своими руками
Мойка в гараже
Чтобы сделать автомойку в гараже, достаточно следовать таким простым советам:
- для начала необходимо подготовить септик, для чего в метрах пяти от помещения выкапывается яма для емкости, устанавливается она на песчаную подушку;
- под уклоном от гаража к емкости заводится канализационная труба, которую необходимо утеплить;
- далее устраивается сам слив. Для этого можно использовать самые различные варианты. Первый – это использование уже готовых пластиковых сливов, которые относительно компактны, имеют размеры 300х300х300 мм. Такой слив отлично подходит для гаража на одну машину, он легко монтируется, да и стоимость его невысока. Второй вариант используется для большого гаража на две машины. Для этого монтируется короб из нержавеющей стали, который имеет толщину в 0,8 мм. Глубина короба должна составлять 600 мм, длина – 810 мм, ширина – 390 мм. В боковых стенках такого короба делаются отверстия для выходов труб.
Такой слив отлично подходит даже в том случае, если необходимо мыть машины и полы в гараже практически каждый день, но необходимо правильно рассчитать емкость для септика должного объема. От этого зависит, насколько быстро септик наполнится, понадобятся услуги по его откачке. Вернуться к содержанию
Схема конструкции
При обустройстве гаражного слива нужно учитывать следующие особенности выполнения данной процедуры:
- соответственно с правилами строительства, септик должен быть расположен на дистанции более 5 метров от гаражного помещения. В противном случае неприятные запахи будут попадать в гараж;
- типовая подводка внутренней канализационной системы располагает гидравлическими затворами, которые не дают запахам из канализации попадать в гараж;
- слив должен располагать радиусом хотя бы 5.5 сантиметра. Радиус труб – 2-2.5 сантиметра;
- трубные изделия могут быть как гладкими, так и гофрированными. Главное – чтобы они располагали устойчивостью к химическим средствам;
- предотвратить возникновение сырости, идущей от пола, и распространение запахов можно, монтировав вентиляционную систему.

Слив в гараже
Организация слива в гараже обеспечит попадание жидкости из трубы в септик.
Слив делает возможным установку санузла. Вы также сможете мыть машину и эффективно отводить осадки.
Для самостоятельной установки слива не нужно много инструментов и материалов. Подготовьте гаечный ключ, крепежи, геотекстиль, лопату и щебень.
Чтобы установить слив, можно использовать пластиковые емкости – они самые прочные и герметичные. Таким образом вы избежите коррозии и протеканий.
Для оборудования гаражного слива важно соблюдать технологию. Среди общих рекомендаций:
- установка септика на расстоянии минимум 5 м от гаража, чтобы внутри не скапливались неприятных запахи;
- установка гидравлических затворов, если подводится типовая внутренняя канализационная система;
- минимальный радиус слива – 5,5 см;
- минимальный радиус сливной трубы – 2 см;
- использование гладких или гофрированных материалов, устойчивых к химическим воздействиям;
- установка вентиляционной системы как дополнительной меры во избежании скопления сырости.
Чтобы установить слив, необходимо:
- вскрыть полы и прорыть траншею на 0,5 м для трубы;
- заложить щебень средней фракции на дно;
- уложить геотекстильное полотно на щебень – в дальнейшем в него оборачивают трубу;
- установить трубу в траншею и подвести к септику;
- обеспечить расположение сливного отверстия в центре помещения;
- засыпать трубу песком, полностью заполнив траншею.
Особенности водосточных систем
Водосточные системы состоят, как правило, из 3 основных элементов: фитинга, желоба и трубы. В зависимости от сечения делятся на: круглые, квадратные и трапециевидные. Монтаж систем слива воды с крыши различается и зависит от ее конструктивных особенностей. К примеру, для плоской или вальмовой крыши понадобится монтаж сливной системы по всему периметру. Установка начинается с крепления заглушки, дающей водному потоку требуемое направление. После попадания в водоприемник вода будет перетекать в сливную систему. Монтаж изгиба нужно сделать с помощью устанавливаемых под определенным углом переходников, а все детали крепятся между собой муфтами.
Специальные тройники дают возможность грамотно распределить водные потоки, обеспечив тем самым умеренную нагрузку на систему. Монтаж сливов на крыше осуществляется с применением хомутов и кронштейнов. При установке также используются дополнительные детали – корзины и сеточки, защищающие слив от засорения; ливневые приемники; капельники, предупреждающие скапливание воды.
Водосточные системы могут быть металлическими или пластиковыми. Бюджетным вариантом является оцинкованная сталь, имеющая при этом большой недостаток – низкую устойчивость к коррозии. Гораздо более долговечны алюминиевые и медные системы, но при этом их стоимость довольно высока. Пластиковые конструкции наиболее распространены, так как при вполне доступной стоимости имеют малый вес, устойчивость к механическим и коррозийным повреждениям, долгое время сохраняют замечательный внешний вид. Помимо этого, такие системы прочны и просты в монтаже.
Канализация для гаража: особенности устройства
Вода не задержится на таком полу
Домашний гараж – это разновидность хозяйственных построек, поэтому устройство отдельного слива помехой не будет. Обычно такая канализация ставится отдельно, трубы и материалы для нее подбираются надежные, так как в сточных водах будут присутствовать различные химически агрессивные вещества.
Не стоит забывать и про установленные правила. Согласно нормам, септик для канализационной системы гаража должен находиться не менее чем в пяти метрах от фундамента.
Слив не должен располагаться непосредственно под самим гаражом, так как в случае аварии его починка будет затруднена, да и общий уход, прочистку при таких условиях проводить почти невозможно.
Внутренняя канализация не отличается большой сложностью. Это стандартная подводка с гидравлическими затворами, обеспечивающая полное отсутствие запахов внутри гаража. Выход должен составлять 110 мм в диаметре, остальные трубы могут быть на 40-50 мм. Системы должны быть качественными, могут применяться гладкие и гофрированные трубы, но материал их должен быть устойчивым к химии и органике. Для стоков лучше применять специальное оборудование и сливные емкости. Поэтому подбираем тщательно, а не покупаем первые попавшиеся.
Обустраивая слив, отдельно обратите внимание на следующие правила:
- расстояние от фундамента строения, где надо сделать автомойку, должно составлять 5 м, от водоемов – от 10 м, от колодцев и прочих источников питьевой воды – от 10 м;
- для слива применяются пластиковые емкости, которые надо ставить на песчаную подушку, выравнивая ее строго по вертикали;
- боковое пространство также засыпается песком, до монтажа бак заливается доверху водой, чтобы при засыпке он не был деформирован (после установки вода откачивается насосами);
- на поверхности надо установить ревизионный люк, воздуховоды;
- при устройстве любой септической емкости надо предусмотреть удобный подъезд ассенизационной машины для откачки.
Канализационная система для гаража представляет собой две части: это внутренняя разводка и внешняя. Внешняя представляет собой слив и трубу, которая идет от него к септику на территории участка. Обычно септики просто очищаются специальными машинами, но есть и устройства, позволяющие осуществить глубокую очистку. Для установки такого оборудования необходимо получить специальное разрешение.
Слив в полу гаража
Многие предпочитают ставить подобные системы очистки непосредственно в подвале под гаражом, но идея это не самая лучшая, так как для этого требуется проведение периодических дезинфекций, да и находиться в помещении может быть довольно затруднительно. К тому же, все равно надо ставить дренаж, септическую емкость, проводить канализационные трубы. Поэтому установка фильтрации в подвалах – занятие затратное и не очень эффективное.
Внутренняя канализация в гараже – это разводка внутри помещения, сделать ее не так тяжело, в целом она очень схожа с обычной бытовой. Для предотвращения попадания в помещение запахов требуется установка воздушных специальных клапанов.
Система фильтрации для гаража довольно сложна, делаем ее с учетом всех требований и норм. Нельзя полагаться на авось и выводить все отходы в общий септик, так как есть большая вероятность заражения почвы и питьевой воды. Для подобных случаев в продаже имеются самые различные фильтры.
Не стоит и просто мыть автомобиль на улице, когда вода после мытья просто стекает и впитывается в землю, лучше всего сделать специальную площадку со стоком, слив от которой будет идти в общую гаражную канализационную систему. Сделать это легко, затраты не такие большие, как может показаться, но зато обеспечивается безопасность.
Зачем нужна система очистки воды для автомойки?
Мытье автомобилей – это довольно выгодный бизнес, правда, требующий большого количества документов, подписанных в самых разных инстанциях. Среди прочего нужно иметь и разрешение на данный вид деятельности от городской СЭС, которое не будет дано без наличия специальных очистных сооружений. Кто-то может задаться вопросом: а зачем нужна очистка сточных вод автомоек, если достаточно подсоединить слив к городской канализации? Но не забывайте, что при используется самая разная химия, которая устремляется в сток вместе с нефтепродуктами и машинными маслами (особенно при очистке двигателя).
Вполне логично, что именно во избежание попадания в канализацию веществ, способных ухудшить экологию при утечке в почву, СЭС требует, чтобы была установлена система очистки воды для автомойки. Однако дорогостоящее оборудование может принести немалую выгоду. Ведь известно, что аппарат высокого давления, используемый для мытья машины, расходует в час около 1200 литров воды. То есть, если за 10 минут мыть один автомобиль, на него уйдет 200 литров, за которые нужно платить по счетчику соответствующей организации.
Очистные сооружения могут быть замкнуты в цикл, позволяющий использовать уже отработанную воду после того, как она пройдет через ряд фильтров и отстойных баков . Как это работает, мы рассмотрим подробно далее, сейчас же речь идет об экономии денежных средств. После того, как сточными водами будет пройден полный цикл очистки, с отфильтрованными и осевшими на дне отстойников веществами теряется приблизительно 10 % жидкости. Оставшаяся вода, после компенсации потерь, может быть использована вторично, а значит, платить придется только за свежие 10 %, добавленные из городских коммуникаций.
Мнение эксперта
Руслан Константинов
Эксперт по автомобильной тематике. Окончил ИжГТУ имени М.Т. Калашникова по специальности «Эксплуатация транспортно-технологических машин и комплексов». Опыт профессионального ремонта автомобилей более 10 лет.
При выборе систем очистки воды следует учитывать технические требования производителя автомойки. Мойки высокого давления и автоматизированные системы преимущественно используют воду с особым химическим составом. Если применяется рециркуляция воды, нужно обеспечить должное качество повторно используемой воды
Немаловажно учитывать и состав сточных вод в зависимости от используемых моющих средств. Фильтрация от нефтепродуктов недостаточна, она должна очищать воду и от ПАВ
Фильтрация напрямую зависит от местонахождения автомойки. Например, за городом это в основном будут просто грязные авто, а в городе покрытые слоем реагентов. В этом случае применяют разные системы очистки. Использовать аппараты малой мощности тоже не стоит, это обходится дороже на практике. Для экономии можно использовать специальные восстанавливающие фильтры. Дабы не привлекать большое количество обслуживающего персонала, многие компании отдают предпочтение автоматическим системам, но это влечет за собой расходы на повышение энергопотребления и периодическое обслуживание установок
Особенно нужно обращать внимание на покрытие оборудования, лучше выбрать антикоррозийную обработку, в условиях высокой влажности это увеличит ресурс системы
Как сделать воду в гараже?

Система водоснабжения в гараж
Чаще всего для создания своего собственного источника воды владельцы гаражей бурят небольшую скважину. К главным преимуществам скважины в помещении гаража относятся:
- Нет ограничения на температурные перепады и природные условия при начале бурения;
- Быстрый процесс бурения и соответствие воды нормам санитарного надзора;
- Нет необходимости закупать дорогостоящее оборудование или нанимать бригаду с техникой;
- Общая выгода по сравнению с подсоединением к водопроводу или копке колодца составляет 25-30%;
- Срок эксплуатации скважины более 20 лет.
Чтобы сделать воду в гараже своими руками необходимо прокопать яму глубиной до 8 метров и соорудить так называемую буровую вышку. Данная конструкция состоит из треноги с трубками или бруса, сечением 50х50 мм. Внутри конструкция оборудуется лебедкой, с помощью которой будет производиться спуск или подъем насаживаемой колонны.
Создание полезных приспособлений для гаража своими руками
Чтобы осуществлять ремонтные и сервисные работы, потребуется соорудить смотровую яму в гараже своими руками, размеры которой будут соответствовать габаритам авто, а также верстак для удобной работы, плюс снабдить помещение станками.
Основной набор инструментов и материалов для создания самодельного верстака для гаража включает:
- доски и деревянные бруски;
- крепежные элементы и стяжки;
- рубанок и другие инструменты для обработки дерева;
- лакирующий и столярный клеевые составы;
- наждачную бумагу и олифу.

Пример размещения в гараже полезных приспособлений: 1 — верстак с ручными станками, 2 — стеллажи и шкафы, 3 — стол для проведения различных ремонтных работ, 4 — полка для хранения шин, 5 — смотровая яма
Технология изготовления верстака в гараже своими руками: фото, чертежи
Верстак состоит из столешницы и подстолья, а также нескольких устройств зажимного типа. Высоту верстака в гараже следует подбирать с учетом собственного роста. Можно взять в качестве ориентира высоту кухонного стола в доме, за которым удобно работать. Обязательно составьте для создания верстака для гаража своими руками чертежи.
Обустройство гаража: как сделать верстак в помещении:
| Этап работы | Детали, размер в см | Тип крепления |
| Сборка столешницы | 20 досок (5х10х200) с пазами 2,5х2,5 в 5-ом и 16-ом элементе (шаг 25) | Клеевой состав металлические стяжки |
| Сушка | — | — |
| Изготовление ножек (4 шт.) | Брусок (10х10х80) с пазами под кронштейны на передних опорах | Кронштейны |
| Сборка основания подстолья | Рамы (2 шт.) из досок (5х10) | Соединение «в шип» на глубину 2,5 см и болты |
| Фиксация боковых и задних опорных стенок | Плиты ДСП (толщина 10 мм) | Шурупы |
| Фиксация столешницы к верхней раме | — | Болты |
Заключительная обработка предполагает пропитку готового изделия олифой и вскрытие лаком.
Рекомендации по созданию смотровой ямы в гараже своими руками
Не существует определенных размеров смотровой ямы в гараже. В качестве основы берутся габариты автомобиля.
Как сделать смотровую яму в гараж с оптимальными параметрами:
- Ширина подбирается с тем расчетом, чтобы внутри было достаточно места для работы. Размер ограничен расстоянием, на которое посажены колеса авто. Каждое колесо нуждается в небольшой площади для выполнения маневров. Средняя ширина ямы составляет 0,8 м.
- Длина ямы ограничивается длиной машины. К этому показателю следует добавить 1 м.
- Для расчета глубины используется рост владельца гаража. К нему прибавляется еще 10-15 см.
Как правильно сделать смотровую яму в гараж с использованием разных материалов:
| Материал | Толщина стенок, см |
| Керамический кирпич | 12-25 |
| Бетон | 15 |
| Строительные блоки | 20 |
Котлован вырывается с учетом оптимальной ширины ямы, материала, выбранного для стенок, а также толщины гидроизоляционного слоя. Этапы создания ямы:
- разметка;
- строительство котлована;
- обустройство котлована;
- строительство стен;
- прокладка освещения.
Для гидроизоляции стен применяется специализированная гидрофобная пропитка.

Схема обустройства смотровой ямы: 1 — стенки из пеноблоков, 2 — гидроизоляция, 3 — бутовая кладка. 4 — уголок размером 50х50х4 мм
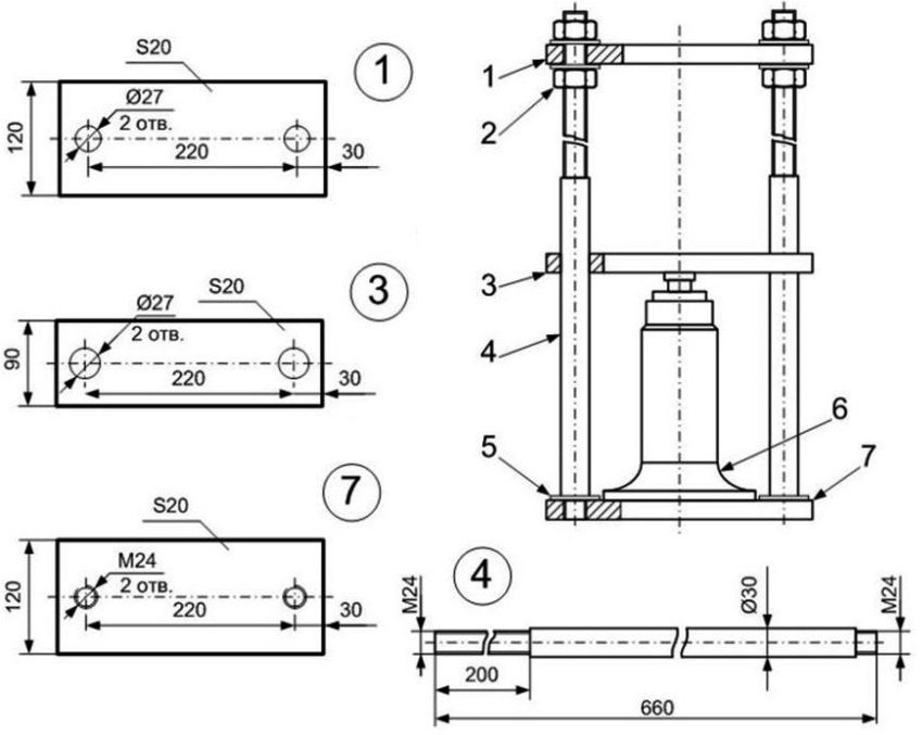
Изготовление пресса для гаража своими руками
Для создания пресса следует изготовить из 4 отрезков металлических труб каркас размером 178х80 см. Эти элементы соединяются методом сварки. В работе рекомендуется руководствоваться чертежами, заранее подобранными или составленными. После этого нужно установить:
- фиксатор;
- съемный упор;
- бутылочный домкрат (гидравлический).
Можно использовать для рассмотрения подробной технологии создания полезных приспособлений для гаража своими руками видео-материалы. Такие наглядные рекомендации помогают сориентироваться в размерах, освоить пошаговые инструкции и представить, какой внешний вид должна иметь готовая конструкция.

Схема изготовления гидравлического пресса: 1 — верхняя силовая платформа, 2 — гайки, 3 — нижняя платформа, 4 — шпильки диаметром 30 мм, 5 — нижняя резьба шпилек, 6 — гидравлический домкрат бутылочного типа; 7 — основание толщиной 20 мм
Обустройство гаража можно сделать собственными руками. На этом список полезных приспособлений не заканчивается. Его всегда можно дополнить любыми интересными идеями. Главное, чтобы гараж полностью соответствовал личным требованиям в отношении комфорта и удобства.
https://youtube.com/watch?v=D1BKvgCBg8Q
Что понадобится для обустройства
Для обустройства гаражного слива необходимо подготовить некоторые инструменты и материалы. Все их можно приобрести на строительном рынке.
Необходимые инструменты
Из инструментов понадобится комплект гаечных ключей, а также крепеж. Они необходимы для монтажа трубных изделий, которые будут отводить воду в канализацию либо септик.
Материалы
Если вы решили использовать септик для обустройства сливной системы, отдайте предпочтение емкостям из пластика. Они прочные, надежные, герметичные. Пластик располагает устойчивостью к коррозийному воздействию, не протекает, имеет малую массу. Это дает возможность монтировать его в одиночку, не прибегая к помощи других.
У пластикового септика имеются определенные недостатки. Так, он стоит дороже, чем емкость из бетона. Однако, если речь идет о гаражном помещении, экономить не стоит. Лучше сразу выбрать высококачественный и надежный материал.
Также вам понадобятся: геотекстиль, щебень, песок и, само собой, лопата для копки траншей.

Как можно обустроить на даче слив из раковины на кухне
Для организации на даче слива своими руками, к раковине на кухне надо подсоединить гофру и создать водяной клапан, изогнув гофру N-образно для того, чтобы в ней постоянно оставалась вода. Затем соединить гофру с пластиковой трубой диаметром 50 мм и вывести ее наружу за пределы домика. Кстати, раковину на кухне нужно снабдить решеткой, чтобы крупные пищевые отходы не попадали в сливную трубу. При обустройстве слива на магистрали между кухней на даче и дренажной емкостью требуется установить промежуточный сифон для того, чтобы все посторонние частицы, которые тяжелее воды, оседали на его дне, а не попадали в емкость. Сифон следует оборудовать окном ревизии для того, чтобы можно было открутить крышку и слить воду с твердыми частицами в ведро. Это уменьшит попадание в дренажную емкость органики и песка. В таком случае объема бочки хватит на более длительное время, бочка прослужит дольше, а в противном случае процессы гниения приведут к ее заиливанию.
При выполнении замеса для бетонирования нужно добавлять в раствор ложку любого стирального порошка на ведро воды. Такая добавка облегчит процесс замеса, улучшит качество раствора – повысит его влагостойкость, прочность, морозоустойчивость, убережет от растрескивания.


Потом необходимо взять металлическую бочку; если она закрыта с двух торцов, то с одной стороны надо с помощью зубила и молотка вырубить дно. Открытым торцом вниз установить бочку в яму на отсыпанную предварительно подушку из гравия и мелкого щебня. Подготовленная яма для слива воды на даче обязана быть больше, чем высота бочки. С другого конца бочки предстоит сделать одно отверстие под трубу, соединить бочку и трубу, выведенную из кухни, тройником с фланцами. Все сочленения: трубы с бочкой, а также с отводной трубой от раковины – необходимо загерметизировать.
Возможные варианты слива с раковины на даче, организованного своими руками, показаны на этих фото:


Можно для лучшего рассасывания сливных вод дополнительно вырыть по бокам бочки дренажные траншеи шириной с нее, примерно 1,5-2 м длиной. Траншеи надо завалить щебенкой, крупными валунами. Сверху траншеи и бочку засыпать слоем земли толщиной от 30 до 100 см вровень с поверхностью участка и закрыть ее дерном. Сверху можно посадить цветы, траву и пару березок – они любят воду. Как показывает практика, если сделать слив с раковины на даче подобным образом, конструкция прослужит примерно 7-10 лет.
Пошаговый процесс установки
Алгоритм установки сливной системы следующий:
- Вскрытие полов.
- Выкапывание траншеи, в которой будет размещаться труба. Глубина должна составлять 40-50 сантиметров. Уклон – 3 миллиметра на метр.
- Укладка подушки из щебня на дно траншеи. Рекомендуется применять галечный щебень фракцией от 0.5 до 2 сантиметров.
- Укладка геотекстильного полотна на щебневую подушку. В это полотно будет оборачиваться установленная труба.
- Монтаж трубы в траншею. Труба должна быть подведена по траншее к септику. Начало трубы (сливное отверстие) – в середине гаражного помещения.
- Засыпание трубы песком (траншея должна быть полностью засыпана).
Схема конструкции
При обустройстве гаражного слива нужно учитывать следующие особенности выполнения данной процедуры:
- соответственно с правилами строительства, септик должен быть расположен на дистанции более 5 метров от гаражного помещения. В противном случае неприятные запахи будут попадать в гараж;
- типовая подводка внутренней канализационной системы располагает гидравлическими затворами, которые не дают запахам из канализации попадать в гараж;
- слив должен располагать радиусом хотя бы 5.5 сантиметра. Радиус труб – 2-2.5 сантиметра;
- трубные изделия могут быть как гладкими, так и гофрированными. Главное – чтобы они располагали устойчивостью к химическим средствам;
- предотвратить возникновение сырости, идущей от пола, и распространение запахов можно, монтировав вентиляционную систему.

Каким способом можно избавиться от воды в гараже
Существует несколько технологий отведения воды от здания:
- Полностью, на всю глубину залегания, откапывается фундамент. Устраивается дренажная система вокруг гаража и организуется отвод воды за пределы участка.
- Дренажную систему можно обустроить внутри гаражного помещения. В этом случае по всему периметру вырубаются технологические желоба, и вся влага будет стекать в один колодец, расположенный в гараже. Пол нужно выполнить из специального дренажного покрытия, имеющего прослойку воздуха, и установить дренажный насос для откачки воды из гаража в колодец.
- Если в гараже стала появляться вода, можно использовать инъекционную технологию гидроизоляции (см. Гидроизоляция гаража и правильный подход к выполнению работы). Для этого по всему периметру между полом и стеной сверлятся с шагом примерно 20 сантиметров отверстия, в которые вставляются специальные пакеры. Через них закачиваются под высоким давлением насосами гидроизолирующие вещества — смола или гель. Их гидроактивные компоненты при взаимодействии с влагой увеличиваются в размерах до тридцати раз и заполняют имеющиеся швы, трещины и пустоты.
- При наличии конденсата в гараже дополнительно нужно покрыть стены жидкой резиной — двух- или трехкомпонентной. Сделать это можно вручную или распылительным насосом, что позволит гидроизоляционную мембрану выполнить более равномерно. При этом необходимо, чтобы поверхность стен была сухой.
Как обустроить наружный пристенный дренаж
При этом методе подпочвенные воды перенаправляются в материковые пески.

При обустройстве отвода воды необходимо:
- Выкопать по периметру гаража траншею, углубившись на 40 сантиметров ниже его пола. Ширина траншеи примерно 40 сантиметров.
- С шагом в два метра в траншее проделываются скважины до уровня залегания песка. Глубина таких устройств зависит от заглубления гаража.
- В скважины устанавливаются дренажные пластиковые трубы, которые предварительно нужно обернуть в геотекстиль.
- Все отверстия необходимо закрывать мелкой решеткой, изготовленной из оцинкованной стали, что предотвратит осыпание почвы и камней в дренажные трубы.
- На дно вырытых траншей стелется геотекстиль. Это предотвратит заиливание дренажной канавы.
- В траншеи насыпается щебенка или гравий.
- Заворачиваются верхние края геотекстиля.
Деревянный пол
Полы из дерева в гаражах встречаются очень редко. Несмотря на простоту монтажа, невысокую стоимость и экологичность материала, популярностью такое покрытие не пользуется. Даже самая плотная древесина не выдерживает нагрузок от автомобиля больше 5 лет. К тому же, деревянный пол легко воспламеняется, а в гараже, где хранится бензин, масло и растворитель, это вдвойне опасно.
Деревянный пол
Плюсы
- экологическая чистота;
- долговечность (если используется лиственница, то срок службы несколько десятков лет кряду);
- несложный монтажный процесс;
- недорогой стройматериал, доступный широкому кругу собственников автобоксов.
Минусы
- может быть источником пожара или поддерживать его;
- впитывает влагу, что приводит к образованию в структуре древесины органики, как результат — гниение.
Если все же есть желание сделать деревянный пол, технология монтажа проста и понятна:
- бетонную стяжку очищают и грунтуют;
- брус для лаг обрабатывают антисептиком и просушивают;
- устанавливают лаги на бетон с шагом 1,-2 м, закрепляя дюбелями на расстоянии 50 см;
- укладывают промежуточные лаги через каждые 40 см;
На фото вариант деревянного пола по лагам с керамзитом
- деревянный каркас укрывают гидроизоляционным материалом;
- набивают доски перпендикулярно лагам.
Деревянный пол в гараже — фото
Избавляемся от плесени и воды в подвале
Одна из главных проблем погреба — плесень. Она появляется из-за некачественных гидроизоляции и вентиляции, ведущих к высокой влажности. Кроме этого, среди причин появления плесени отмечают длительное хранение подгнивших припасов и использование заражённой древесины для изготовления полок.
Плесень и грибок вредно сказываются на здоровье и снижают срок хранения продуктов
Перед проведением основных работ помещение необходимо продезинфицировать. Это делается следующим образом:
- Погреб освобождается от посторонних предметов — стеллажей, полок, банок и т. д.
- С помощью жёсткой металлической щётки очищаются стены. В первую очередь — места скопления плесени.
- Стеллажи просушиваются на улице и обрабатываются обеззараживающими составами.
- Если пол в подвале земляной, перед проведением дезинфекционных процедур снимается верхний слой.
Лучшее средство для избавления от плесени — серная шашка. Пары сернистого газа позволяют устранить грибок в любых местах. Все вентиляционные и прочие отверстия перекрываются, после чего поджигается кусочек серы. Затем нужно быстро покинуть помещение, плотно закрыв люк. Через 10–12 часов погреб проветривается, все поверхности подвергаются обработке гашёной известью.
- В качестве аналога серной шашки можно использовать следующий раствор: 1 кг гашёной извести и 100 г. купороса разбавляются в двух вёдрах воды. Полученный раствор используется в обработке стен с помощью распылителя.
- Раствором дезактина обрабатываются стеллажи и полки, вынесенные на улицу.
- Примерно через сутки, после тщательного проветривания помещения и проверки всех поверхностей, погребом можно пользоваться.
При работе с химикатами необходима защитная форма: маска, костюм, перчатки
Профилактика появления плесени
Чтобы плесень не появлялась, прежде всего необходимо обеспечить качественную гидроизоляцию. Как вариант — уложить дополнительный изоляционный слой.
Помимо этого, необходимо ежегодно проводить ряд профилактических мер:
- Тщательная уборка и осмотр погреба.
- Просушивание помещения. В зависимости от его состояния, процесс сушки может продолжаться от двух дней до нескольких недель.
- Мытьё и сушка стеллажей. После этого их нужно обработать противогрибковым составом.
- Обработка противогрибковыми и антибактериальными препаратами сухого погреба. После этого он повторно просушивается в течение 2–3 дней.
- При наличии земляного пола, он покрывается раствором медного купороса. После этого нужно дать смеси впитаться, а в место хранения овощей подсыпать извести и песка.
- По окончании всех необходимых процедур заносятся стеллажи. Погребом можно пользоваться по прямому назначению.




































